Skip to main content

黑洞资源笔记

  1. aidea: 一款集成了主流大语言模型以及绘图模型的 APP, 采用 Flutter 开发,代码完全开源,支持以下功能:

    支持 GPT-3.5/4 问答聊天
    支持国产模型:通义千问,文心一言
    支持文生图、图生图、超分辨率、黑白图片上色等功能,集成 Stable Diffusion 模型,支持 SDXL 1.0

    除IOS 国区目前不可用,其他所有区域都可以下载。

    开源代码:客户端 | 服务端 (即将开放)
    安装地址:Android/IOS APP | Mac桌面端 | Web端
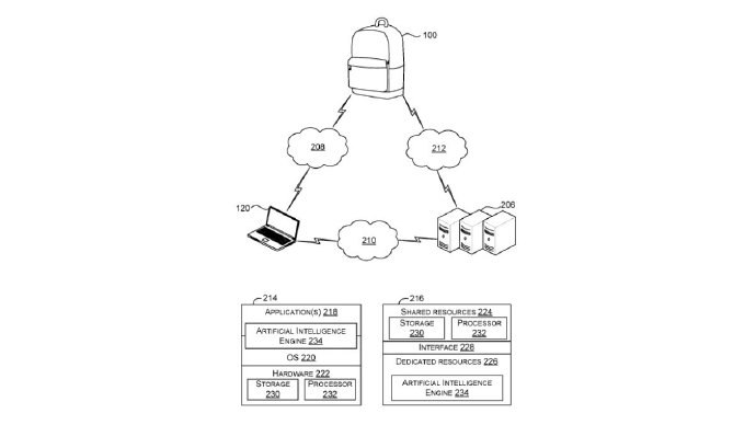
  2. 微软 AI 背包专利曝光,可自动比价、陪用户聊天

    美国商标和专利局在近日的一份公式清单中,曝光了微软在今年 5 月提交的一款 AI 背包专利。这款背包配备了完整的电脑系统以及摄像头、麦克风、扬声器等外设,可通过语音实时与用户完成交互,为用户在各类场景中给到建议与帮助。

    根据微软的介绍,佩戴这款 AI 背包滑雪时,可自动扫描周边环境,提醒用户是否越界;站在音乐节海报前,可以提醒用户是否创建日历提醒项并购买门票;在购物时,背包还能够自动检测商品过去 1-2 周的价格,并与其他商超的价格进行比较。
  3. 官方越狱 iPhone 现已开放申请 | link

    Apple 安全工程与架构 (SEAR) 团队发布公告,宣布开放 2024 年度 iPhone 安全研究设备计划(SRDP)的资格申请,通过申请的参与者将获得一台名为 SRD 的官方改装 iPhone。

    这台设备运行经过定制的特殊固件,安全研究人员可在其不受限的软件环境中运行任何工具,甚至可以加载经过修改的操作系统内核。

    借助设备这台设备,安全研究人员可以更快、更方便的发现 iOS 乃至 iPhone 硬件上的漏洞,所有提交的漏洞都有机会获得来自 Apple 的安全赏金。
  4. 116.21GB,《星空》开启 Steam 平台预载

    游戏《星空》今日在 Steam 平台为预购玩家开启了游戏预载,不包含首日补丁的预载体积为 86.4GB,解压后需要硬盘有至少 116.21GB 的剩余空间。

    游戏的标准版将在  9 月 6 日 上午 8 点解锁,购买高级版与典藏版的玩家则能提前 5 天,在 9 月 1 日抢先开玩。
  5. 一个做的比较专业的 AI Chatbot,MindOS,mindos.com,平台提供了一系列 AI 伴侣可以直接对话,具备较为强大的 AI 副驾驶定制化能力,包括 APIs、Workflows、Knowledge 和 Memory。

    APIs 是一系列集成的三方接口,包括 Google 内容搜索、天气查询、Youtube 视频查询等,甚至还包括 LLM as a Service 的服务接入,也支持自定义接入。

    Workflows 类似一个低代码编辑器,允许定义各种 Nodes 节点,例如抓取、分析和处理数据等,包括对数据的重新排列组合,还支持编程方式处理数据,每个 Node 都是一个 Prompt 驱动的任务执行器。

    Knowledge 解决了幻觉问题,而 Memory 可以用来缓存和读取数据,它有点类似一个 Prompt 驱动的 Database。

    docs | home
    MindOS_Create_autonomous_AI_agents_for_your_professional_tasks.mkv
    7 MB
  6. Anthropic的提示工程师在视频里分享了他的五个重要的提示书写方法,可帮你用好Claude。

    五个提示工程方法是:

    1.需要描述你的任务,Claude对直接清晰的描述和具体的指导说明响应很好。
    2.用XML标签标记提示的不同部分,比如<text>XXX</text>。
    3.给出一个例子,例子越多越好。
    4.利用Claude非常长的上下文长度,给他提供足够多的信息。
    5.让Claude思考,在Claude你可以使用<question></question>思考标签来标注需要思考的内容,然后再说它需要输出的答案。
  7. 索引电脑上几乎所有类型的本地文件,然后通过LLM来进行问答,做“你的第二大脑”。

    只支持Ubuntu系统,windows系统可以等微软官方的copilot,苹果系统可以用Rewind。Rewind未开源,在Mac版和手机版应用商店可以下载。

    Quivr | #工具
  8. Windows最近更新导致的蓝屏死机与微星主板相关

    部分Windows 10和Windows 11用户在安装了最新预览版更新KB5029351后遭遇了错误信息为UNSUPPORTED_PROCESSOR的蓝屏死机。微星公司现在证实该问题与其主板相关。

    它在官方声明中称使用MSI 600/700系列主板的用户遭遇了蓝屏死机,如果该补丁没有自动卸载,那么建议用户回滚BIOS到上一个版本,然后卸载KB5029351。

    微软表示受影响的操作系统版本包括Windows 10 21H2/22H2和Windows 11 22H2,它表示在多次蓝屏死机之后系统应该会自动卸载该补丁。